الفرق بين المراجعتين لصفحة: «الماء المعد للأغراض الصيدلانية»

من موسوعة العلوم العربية
اذهب إلى التنقل اذهب إلى البحث
لا ملخص تعديل
 
سطر 141: سطر 141:
قبل التقدم إلى وصف أنظمة التخزين والتوزيع النموذجية ومعداتها , من المفيد التحدث ببضع كلمات عن قضية النمو الميكروبي التي تشكل أكبر تحدٍ على الأرجح وتحدث الكثير من القلق بين المهندسين والعمال الفنيين.                                                                الأحياء الدقيقة واسعة الانتشار ; أي بإمكانها التواجد ضمن مجموعة واسعة جداً من البيئات. لا تستثنى من هذه البيئات أنظمة المياه عالية النقاوة. على الرغم من أن هذه المياه تحوي على مقدار ضئيل جداً من المواد المغذية الضرورية لاستمرار حياتها, إلا أن بعض أنواع البكتيريا قد طورت مهارات تسمح لها ليس فقط بالبقاء وإنما بالتكاثر في هذه المياه. تقوم هذه البكتيريا بذلك في معظم الأحيان عبر الارتباط بالأنابيب والسطوح الأخرى للنظام وبتشكيل غشاء رقيق (فلم) يحوي بداخله الأحياء الدقيقة , المواد المغذية العضوية واللاعضوية (يتم استحصالها جزئياً من المياه وجزئياً من البكتيريا الميتة) , ومنتجات الاستقلاب والتحلل الجرثومي. إن هذا الفلم , الذي إن صح التعبير يدعى بالفلم الحيوي biofilm , يقوم بتكوين بيئة لائقة شديدة الاختلاف عن معظم حجم منظومة المياه , وهي ربما مريحة بشكل منطقي لمثل هذه البكتيريا. إن أغلب الأحياء الدقيقة القادرة على تشكيل أفلام حيوية في أنظمة تنقية المياه تصنف كمتعضيات سالبة الغرام إشارة إلى نوعيتها في عدم تثبيت الصباغ بعد عملية التلوين (كريستيان غرام Cristian Gram هو مبتكر طريقة التلوين). إن مثل هذه المتعضيات يملك ميلاً لأخذ المواد عديدة السكاريد الشحمية من أغشية الخلايا التي تكون الذيفانات داخلية المنشأ , وذلك خلال كل من فترة نموها الطبيعي وبعد تحلل الخلية. لهذا السبب تعد إزالة الأحياء الدقيقة سالبة الغرام من أنظمة المياه أحد الأهداف الرئيسية. إن ذلك يفسر أيضاً سبب أن عينات الاختبار المأخوذة من نظام المياه بشكل عاجل بعد التنظيف تظهر أحياناً مستويات أعلى للذيفانات من تلك الملاحظة قبل ذلك : عملية التنظيف الناجحة تقضي على جميع أو معظم البكتيريا في الفلم الحيوي , ويتم إطلاق أجزاء من أغشيتها في مجرى الماء الأعظمي حيث من الممكن كشفها كذيفانات داخلية.  
قبل التقدم إلى وصف أنظمة التخزين والتوزيع النموذجية ومعداتها , من المفيد التحدث ببضع كلمات عن قضية النمو الميكروبي التي تشكل أكبر تحدٍ على الأرجح وتحدث الكثير من القلق بين المهندسين والعمال الفنيين.                                                                الأحياء الدقيقة واسعة الانتشار ; أي بإمكانها التواجد ضمن مجموعة واسعة جداً من البيئات. لا تستثنى من هذه البيئات أنظمة المياه عالية النقاوة. على الرغم من أن هذه المياه تحوي على مقدار ضئيل جداً من المواد المغذية الضرورية لاستمرار حياتها, إلا أن بعض أنواع البكتيريا قد طورت مهارات تسمح لها ليس فقط بالبقاء وإنما بالتكاثر في هذه المياه. تقوم هذه البكتيريا بذلك في معظم الأحيان عبر الارتباط بالأنابيب والسطوح الأخرى للنظام وبتشكيل غشاء رقيق (فلم) يحوي بداخله الأحياء الدقيقة , المواد المغذية العضوية واللاعضوية (يتم استحصالها جزئياً من المياه وجزئياً من البكتيريا الميتة) , ومنتجات الاستقلاب والتحلل الجرثومي. إن هذا الفلم , الذي إن صح التعبير يدعى بالفلم الحيوي biofilm , يقوم بتكوين بيئة لائقة شديدة الاختلاف عن معظم حجم منظومة المياه , وهي ربما مريحة بشكل منطقي لمثل هذه البكتيريا. إن أغلب الأحياء الدقيقة القادرة على تشكيل أفلام حيوية في أنظمة تنقية المياه تصنف كمتعضيات سالبة الغرام إشارة إلى نوعيتها في عدم تثبيت الصباغ بعد عملية التلوين (كريستيان غرام Cristian Gram هو مبتكر طريقة التلوين). إن مثل هذه المتعضيات يملك ميلاً لأخذ المواد عديدة السكاريد الشحمية من أغشية الخلايا التي تكون الذيفانات داخلية المنشأ , وذلك خلال كل من فترة نموها الطبيعي وبعد تحلل الخلية. لهذا السبب تعد إزالة الأحياء الدقيقة سالبة الغرام من أنظمة المياه أحد الأهداف الرئيسية. إن ذلك يفسر أيضاً سبب أن عينات الاختبار المأخوذة من نظام المياه بشكل عاجل بعد التنظيف تظهر أحياناً مستويات أعلى للذيفانات من تلك الملاحظة قبل ذلك : عملية التنظيف الناجحة تقضي على جميع أو معظم البكتيريا في الفلم الحيوي , ويتم إطلاق أجزاء من أغشيتها في مجرى الماء الأعظمي حيث من الممكن كشفها كذيفانات داخلية.  


هناك نتيجة أخرى للنمو الجرثومي في الأفلام الحيوية لا بد من بقائها في الحسبان هي أن نتائج أخذ العينات الميكروبية لأنظمة المياه مرتبطة فقط بشكل غير مباشر بتوضعها الفعلي. أولاً , تؤخذ العينة عادة من تيار سائل التعبئة في حين تبقى معظم البكتيريا على سطوح الأنابيب والمعدات. ثانياً , تقنيات الاختبار , المتضمنة لنوع وسط النمو المستخدم لزرع العينة قبل تعداد المستعمرات , قد تملك تأثيراً كبيراً على نتائج الاختبار. لذلك ليس من المفاجئ ألا يحدد دستور الأدوية الأميركي الـ USP التركيز المسموح به للعضويات الدقيقة في عينات المياه كمعايير يعني تجاوزها الفشل بشكل مشابه للناقلية أو للـ TOC , وإنما فقط يحدد دليلاً مساعداً غير مباشر ينبغي استخدامه كحد عملي أو تحذيري في الجهود المبذولة للحفاظ على التحكم الميكروبي.     
هناك نتيجة أخرى للنمو الجرثومي في الأفلام الحيوية لا بد من بقائها في الحسبان هي أن نتائج أخذ العينات الميكروبية لأنظمة المياه مرتبطة فقط بشكل غير مباشر بتوضعها الفعلي. أولاً , تؤخذ العينة عادة من تيار سائل التعبئة في حين تبقى معظم البكتيريا على سطوح الأنابيب والمعدات. ثانياً , تقنيات الاختبار , المتضمنة لنوع وسط النمو المستخدم لزرع العينة قبل تعداد المستعمرات , قد تملك تأثيراً كبيراً على نتائج الاختبار. لذلك ليس من المفاجئ ألا يحدد دستور الأدوية الأميركي الـ USP التركيز المسموح به للعضويات الدقيقة في عينات المياه كمعايير يعني تجاوزها الفشل بشكل مشابه للناقلية أو للـ TOC , وإنما فقط يحدد دليلاً مساعداً غير مباشر ينبغي استخدامه كحد عملي أو تحذيري في الجهود المبذولة للحفاظ على التحكم الميكروبي.     


من المهم ملاحظة أنه يبقى عدد قليل من الأحياء الدقيقة في نظام الماء المنقى من دون أن يؤثر بشكل جدي على نوعية المياه. بسبب نقص المواد المغذية ونظراً للظروف الأخرى الغير مفضلة , يكون النمو الميكروبي في هذه المياه بطيئاً. إن ذلك يزود العاملين بخيار الحفاظ على هذه الأنظمة وهي في حال ضبط النمو الميكروبي عن طريق تنظيفها بشكل دوري أكثر من تنظيفها باستمرار , طالما أن المدة طويلة بما فيه الكفاية للحفاظ على التعدادات الجرثومية عند مستويات منخفضة بشكل مقبول.  
من المهم ملاحظة أنه يبقى عدد قليل من الأحياء الدقيقة في نظام الماء المنقى من دون أن يؤثر بشكل جدي على نوعية المياه. بسبب نقص المواد المغذية ونظراً للظروف الأخرى الغير مفضلة , يكون النمو الميكروبي في هذه المياه بطيئاً. إن ذلك يزود العاملين بخيار الحفاظ على هذه الأنظمة وهي في حال ضبط النمو الميكروبي عن طريق تنظيفها بشكل دوري أكثر من تنظيفها باستمرار , طالما أن المدة طويلة بما فيه الكفاية للحفاظ على التعدادات الجرثومية عند مستويات منخفضة بشكل مقبول.  

المراجعة الحالية بتاريخ 21:10، 20 ديسمبر 2015

Leonid Shnayder

Aker Kvaerner Pharmaceuticals, Bridgewater, New Jersey, U.S.A.

مقدمة : Introduction

يعتبر الماء أحد المتطلبات الرئيسية في معظم الاستخدامات الصيدلانية . يستخدم الماء كمحل solvent , مكون أساسي للمستحضرات product ingredient , عامل منظف cleaning agent وللعديد من التطبيقات الأخرى. إن بعض هذه التطبيقات يتطلب ماءً ذو نقاوة أعلى من ذلك المتوفر عادةً في مصادر المياه المحلية. لذلك تقوم الشركات بوضع أنظمة خاصة لتنقية المياه والتي تشكل جزءاً حساساً من البنى التحتية لمؤسساتها.

لماذا يحتاج الماء الصالح للشرب الآتي من الإمدادات المحلية للمياه إلى معالجة إضافية من أجل استخدامه في الصناعة الصيدلانية ؟.... لفهم ذلك , دعونا نمعن النظر في المصدرين الرئيسين للمياه بالنسبة للمؤسسات المحلية : المياه المخزنة تحت الأرض (مياه الآبار) ومخزون المسطحات المائية (الأنهار والبحيرات). حينما تسقط مياه الأمطار على سطح الأرض تقوم بتجميع وحل الغازات الجوية (الأكسجين وثاني أكسيد الكربون), الانبعاثات الصناعية مثل أكاسيد الكبريت والآزوت , بالإضافة إلى البكتيريا والأجزاء الصلبة الغبارية. حينما تمر هذه الأمطار عبر الأرض إلى الآبار , تتم تصفية الماء ويصبح نظيفاً تماماً , خالياً من معظم الأجزاء والملوثات العضوية. على أية حال , في هذه اللحظة يكون الماء قد حل لتوه المعادن المحتواة في الأحجار الكلسية والمواد الجيولوجية الأخرى. إن ذلك يضيف الكالسيوم , المغنزيوم , الصوديوم , الحديد , الكلور , الكباريت وشوارد أخرى إلى المياه الجوفية. أما المسطحات المائية المتمثلة في الأنهار والبحيرات فتقوم بجمع المواد والأجزاء العضوية من النباتات النامية ضمنها والجداول الخارجية التي تصب فيها.

إن منشآت المياه المحلية تقدم علاجاً محدوداً غرضه في المقام الأول جعل المياه صالحة للشرب . إن كمية كبيرة من الملوثات مثل الأملاح , الغازات المنحلة , والمواد العضوية المحتواة في المصادر الطبيعية تظل باقية في إمدادات المياه المحلية. بالإضافة إلى ذلك , يتم غالباً إضافة الكلور أو مطهرات أخرى كجزء من عملية المعالجة للسيطرة على التلوث الجرثومي. من أجل العديد من التطبيقات الحساسة المطلوبة في المنشآت الصيدلانية , نقاوة المياه هذه غير كافية , ومن الضروري تطبيق معالجة متقدمة لها.

درجات المياه المستخدمة في المنشآت الصيدلانية : Grades of Water used in the Pharmaceutical Facilities

إن نقاوة المياه المطلوبة تتفاوت على نحو واسع حسب التطبيق. على سبيل المثال , الماء المعد لتلقيم أجهزة الغلي المنتجة لأبخرة المنشأة بحاجة فقط إلى أن يتم تليينه softened (لتجنب تراكم القشور) وأن يتم نزع الهواء منه deaerated (لتجنب تآكل منظومة البخار). من ناحية أخرى , الماء المستخدم كحامل للأدوية المعدة للحقن عليه التعرض لمتطلبات نوعية أكثر صرامة. إن دستور الأدوية الأميركي USP يحتوي على مواصفات لدرجات مختلفة من المياه المستخدمة في تحضير المنتجات الدوائية . الدرجتان الأكثر استخداماً عادة في المنشآت الصيدلانية هما الماء المنقى حسب الـ USP USP Purified Water)) والماء المعد للحقن Water For Injection)) WFI. حسب ما يوحي الاسم فإن WFI يستخدم لتحضير الأدوية المعدة للحقن بينما يمكن استخدام الماء المنقى في صناعة المضغوطات tablets , الكبسولات capsules , الكريمات creams , الغسولات lotions ...الخ.

إن أنماط المياه هذه تدعى بالمرجعية compendial لأن نوعيتها محددة في معيار رسمي معترف به دولياً مثل الـ USP. بالإضافة إلى ذلك , العديد من الشركات تستخدم أنظمة مياه مختلفة غير مرجعية non-compendial مصممة لأغراض خاصة.عندما يتم إنشاء المعمل من المهم تقرير الدرجات المناسبة للمياه المستخدمة في التطبيقات المختلفة.

المياه المرجعية تكون عادة مرتفعة الثمن , ليس فقط بسبب ما تحتاجه من خطوات في المعالجة , لكن أيضاً بسبب متطلبات الاختبار والتحقق الشامل من الفعالية لذلك من حسن التدبير الاقتصاد عند استخدامها في العمليات التي يكون فيها الماء حاملاً للمنتج الصيدلاني حيث يكون الماء على تماس مباشر مع هذه المنتجات أوعند استخدامه في عمليات الغسل الأخيرة للأجهزة الحساسة المستخدمة في عمليات التصنيع. من أجل معظم التطبيقات الأخرى , يمكن استخدام درجات مختلفة من المياه غير المرجعية (القابل للشرب potable – اللين softened – منزوع الشوارد deionized...الخ) على النحو الأمثل من دون أي تداخلات مع سير العمل . ليس من النادر وضع منظومة مياه تقوم بإنتاج مياه متناسبة مع مواصفات الـ USP مع أنها غير معدة كمياه منقاة حسب الـ USP وذلك لتجنب النفقات غير الضرورية للالتزامات التنظيمية والإدارية. يضع الإصدار الحديث من الـ USP المتطلبات الآتية من أجل المياه المنقاة حسب الـ USP : •يحضر الماء النقي اعتباراً من المياه المتوافقة مع القوانين الفيدرالية لمياه الشرب. •يجب أن لا يحتوي الماء النقي على مواد مضافة. •يجب أن يتم استحصاله بعمليات ملائمة. •ألا تتجاوز الناقلية مستوىً معيناً قدره 1.3 ميكروسيمنس/ سم (1.3µS/cm)بدرجة حرارة 25o . •ألا يتجاوز إجمالي الفحم العضوي TOCمستوىً معيناً قدره 500 جزء بالبليون 500 ppb)).

أما متطلبات الـ WFI فهي كالآتي : 

•يخضع لجميع متطلبات الماء النقي. •يستحصل بعملية التقطير distillation أو بتقنية التناضح العكسي reverse osmosis RO)). •ألا يزيد محتواه من الذيفانات الداخلية endotoxin عن 0.25 وحدة/مل حسب الـ USP. •أن يحضر باستخدام أجهزة مناسبة للتخفيض من النمو الميكروبي.

لا يحدد الـ USP التراكيز المسموح بها للأحياء الدقيقة في الأفرودة الرسمية monograph , ولكنه يوصي بحدود عملية لها من 100 وحدة مشكلة للمستعمرات/مل (CFU/ml) بالنسبة للماء النقي و 0.1 وحدة/مل بالنسبة لـ WFI.

إذا وضعنا جانباً البنود المتعلقة بمصدر المياه وإجراءات المعالجة , بإمكاننا تلخيص متطلبات المياه النقية كالآتي :

1)ناقلية منخفضة (مقاومة مرتفعة). الغرض من هذا الاختبار إظهار أن الماء يحتوي كميات ضئيلة من الشوارد مثل الكالسيوم , المغنزيوم , الصوديوم , الحديد , الكلور , الكبريتات , ...الخ. التواجد الأصلي لأيونات الهيدروجين والهيدروكسيل يقرر الحد النظري لناقلية الماء النقي : تعادل تقريباً 0.05µS/cm (المقاومة 18 MΩ cm) عند درجة PH = 7. الحدود العملية المحددة في الـ USP تكون في المجال من 1 – 5 µS/cm , بالاعتماد على درجة الحرارة وقيمة الـ PH .

2) نسبة الـ TOC منخفضة (أقل من 500 ppb). يجب أن تحوي المياه على كمية ضئيلة من المركبات العضوية. فهذه المركبات غير مرغوبة لسببين رئيسيين: قد تكون سامة , و/أو قد تعمل كمصادر تغذية للأحياء الدقيقة.

3) تعداد ميكروبي منخفض. يجب أن تحوي المياه على كمية ضئيلة من الأحياء الدقيقة القادرة على النمو, بما فيها الأبواغ.

4) مستوى منخفض من الذيفان الداخلي (مطلوب لـ WFI فقط). يطبق مصطلح endotoxin" (الذيفان الداخلي) على المركبات العضوية التي تسبب تأثيرات ضارة عندما تحقن في مجرى الدم لحيوانات التجربة. مثال على هذه المركبات عديدات السكاريد الشحمية lipopolysaccharides المصنعة كنتيجة للنمو الجرثومي أو التخرب الجرثومي.

أنظمة تنقية المياه : Water Purification Systems

بما أن المياه المتوفرة طبيعياً لديها مجموعة متنوعة من الملوثات , يوجد العديد من إجراءات المعالجة المتطورة لإزالة هذه الملوثات. إن نظام تنقية المياه الصيدلاني النموذجي يحوي على عدة عمليات متكاملة مصممة لإزالة مركبات مختلفة.

إزالة الأجزاء : Particle Removal

إن منشآت معالجة المياه المحلية تستخدم عملية تدعى الترويق Clarification ترتكز على التثفيل الوزني gravity settling لإزالة معظم الأجزاء الكبيرة المعلقة في المياه. على أية حال , تظل بعض المواد معلقة في مياه الشرب ويجب إزالتها كجزء من عملية تنقية المياه الصيدلانية.

العملية الأكثر شيوعاً للاستخدام من أجل هذا الغرض هي الترشيح العميق depth filtration عبر سرير من الرمل أو مادة مشابهة محمولة في وعاء عمودي. يتدفق الماء الوارد من القمة إلى القاع. لتحسين مردود هذه المراشح تستخدم طبقتان أو أكثر من أوساط ذات مقاسات أجزاء مختلفة. المادة الخشنة والأقل كثافة مثل فحم الأنتراسيت Anthracite تتوضع على قمة السرير بينما الأجزاء الأنعم والأعلى كثافة للرمل تتوضع في القاع.

إن المراشح متعددة الأوساط multimedia filters كهذه بإمكانها إزالة معظم الأجزاء الأكبر من 10 – 20 µm . يغسل سرير الترشيح بعد ذلك بشكل دوري بقلب اتجاه التدفق (من القاع إلى القمة) وبزيادة معدل التدفق. خلال عملية الغسل العكسية للماء backwash تتم إزالة الأجزاء التي تم التقاطها وتذهب إلى مياه الصرف , بينما الأجزاء الأثقل لسرير الترشيح تبقى في الوعاء وتستقر عند نهاية دورة الغسل.

في أنظمة تنقية مياه أصغر من تلك , بإمكاننا غالباً أن نجد مرشحة عميقة من نمط الخرطوشة cartridge مستخدمة لإزالة الأجزاء. هذه الخرطوشة تكون مصنعة من السيللوز , القطن , أو ألياف بوليميرية وتقوم بحبس الأجزاء الوسخة من خلال حجمها. وعندما تصل هذه الخرطوشة إلى حد سعتها يتم التخلص منها واستبدالها بواحدة جديدة.

ادمصاص الكلور والمركبات العضوية المنحلة : Adsorption of Dissolved Organics and Chlorine

تستخدم مراشح الفحم الفعال Activated carbon المتوافرة عادة في أنظمة تنقية المياه الصيدلانية لإزالة الكلور والعديد من المواد العضوية المنحلة الموجودة في الماء الوارد القابل للشرب. بالشكل المادي , تبدو مرشحة الفحم مشابهة تماماً للمرشحة متعددة الأوساط : حوض عمودي بجانبه صمام متعدد الوظائف. الفارق الرئيسي هو أن سرير المرشحة يتكون من أجزاء فحم فعال ذات مساحة سطح عالية جداً. بإمكان هذه الأجزاء ادمصاص وحجز كميات ضخمة من الكلور والملوثات العضوية. السيئة الرئيسية لمراشح الفحم هي أنها قد تصبح أرضية ملائمة لتعزيز نمو البكتريا في الوسط الغير حاوي على كلور (والذي يتم ادمصاصه بشكل مثالي في الجزء الأعلى من السرير) بالإضافة لاحتواءه على كمية كبيرة من المواد المغذية. لذلك يتم عادة تعقيم مراشح الفحم بشكل دوري بالماء الساخن من أجل احتواء النمو الميكروبي. يتم أيضاً غسل المرشحة بشكل متكرر لإزالة الأجزاء الملتَقطة.على أية حال , لا يمكن إعادة تجديد الفحم الفعال اقتصادياً في هذا المجال : حالما يصل إلى حد سعته الادمصاصية adsorption capacity (بشكل مثالي بعد5-1 سنوات) يتم تزويد السرير بفحم جديد. ينصح باستخدام فحم فعال غسول بالحمض لتنقية المياه لأن المعادن الموجودة في الفحم قد تقود إلى نفاذية الأكاسيد المعدنية , رافعة بذلك قساوة الماء.

التبادل الشاردي : Ion Exchange

إن عملية التبادل الشاردي مبنية على قدرة راتنجات صناعية synthetic resins محددة على الادمصاص الانتقائي للشرجبات Cations أو للشرسبات Anions وتحرير (مبادلة) شوارد أخرى وذلك حسب فعاليتها النسبية. يمر الماء عبر سرير من الكريات الراتنجية resin beads في وعاء عمودي (مرة أخرى يبدو ذلك مشابهاً جداً للمرشحة متعددة الأوساط) حيث تحدث عملية التبادل الشاردي هذه. حينما تملأ جميع المواقع الفعالة على سرير الراتنجات بالأيونات الجديدة يصبح الراتنج بحاجة إلى تجديد وذلك بإمرار محلول كيميائي مناسب عبر السرير.

النمط الأكثر شيوعاً لنظام التبادل الشاردي هو محلية المياه water softener. وظيفتها الرئيسية هي إزالة شوارد الكالسيوم والمغنزيوم من الماء القاسي. إن هذه المركبات هي التي تسبب تشكل القشور صعبة الإزالة في أباريق الشاي ; ولديها تأثير مشابه على الغلايات boilers , أجهزة التقطير distillation stills وجهاز الترشيح الغشائي membrane filtration equipment. يملك راتنج البوليستيرين polystyreneألفة للأيونات متعددة التكافؤ مثل الكالسيوم والمغنزيوم أكثر من ألفته للوحيدة التكافؤ مثل الصوديوم. عندما يمر الماء عبر السرير, يتم التقاط شوارد الكالسيوم والمغنزيوم ومبادلتها مع الصوديوم المدمص على الراتنج النقي. حالما يستنزف الراتنج , يتم إعادة تجديده بمحلول %10 من كلور الصوديوم . إن التركيز العالي لأيونات الصوديوم في هذا المحلول يقلب توازن عملية الادمصاص – إزالة الادمصاص adsorption-desorption , مؤدياً إلى إزاحة للأيونات متعددة التكافؤ الملتقطة بأيونات الصوديوم. إن دورة التجديد يمكن إعادتها لمرات عديدة , جاعلة الراتنج الملين يستمر لسنوات. التليين عملية بسيطة جداً وغير مكلفة تتطلب فقط الملح من أجل تجديد الراتنج , وهي تستخدم على نحو واسع ليس فقط في أنظمة الماء عالي النقاوة , بل أيضاً في العديد من أنظمة المياه الخدمية.

تحدث عملية مشابهة أيضاً في مزيلات الشوارد Deionizers في عملية التبادل الشاردي , والمصممة لإزالة فعلية لجميع الشوارد الغريبة من الماء. تستخدم مزيلات التأين نمطين من الراتنجات : نمط يتبادل الشوارد المشحونة إيجاباً (الشرجبات ( cations مثل الصوديوم ,الكالسيوم والمغنزيوم مع شوارد الهيدروجين (H+) ; ونمط آخر يتبادل الشوارد السالبة (الشرسبات anions) مثل الكلور, الكبريتات , والبيكربونات مع الهيدروكسيد (OH-). على الرغم من أن عملية التبادل الشاردي بإمكانها أن تنتج مياه ذات نوعية عالية جداً , فإن مشكلتها الرئيسية هي نمط المواد الكيميائية التي تتطلبها عملية تجديد الراتنج : تجدد الراتنجات الكاتيونية بحموض قوية , ويتم تجديد الراتنجات الأنيونية بمحاليل أسس قوية. المشكلة الهامة الأخرى لأنظمة المياه الصيدلانية هي حقيقة أن راتنجات التبادل الشاردي من الممكن أن تصبح أرضية ملائمة لنمو الأحياء الدقيقة. من أجل أنظمة أصغر, من الشائع استخدام وحدات تبادل أيوني من النمط الخدمي , حيث يتم أخذ الوعاء مع الراتنج الذي تم استهلاكه خارجاً من أجل عملية إعادة التجديد , بينما الأنظمة الأكبر عليها أن تجدد ضمن المكان نفسه مما يؤدي للحاجة إلى التعامل مع الحموض والأسس المركزة وإلى تعديل المحاليل التي يتم تصريفها. هناك عملية حديثة نسبياً تكسب رواجاً في هذا المجال هي نظام إزالة التأين المستمر continuous deionization systemوالتي تقدم دمجاً لتقنيات التبادل الشاردي والفصل الغشائي. يستخدم هذا النظام التيار الكهربائي ليجدد بشكل مستمر راتنج التبادل الشاردي بشكل متزامن مع عملية معالجة المياه , ملغياً بذلك الحاجة للتعامل مع المركبات الكيميائية القوية.

الترشيح الغشائي : Membrane Filtration

على خلاف المراشح العميقة التي يتم فيها التقاط الأجزاء من خلال حجم المرشحة , فإن المراشح الغشائية عبارة عن مراشح من النمط السطحي : توقف الأجزاء الأكبر من حجم فتحة المسم تماماً عند السطح المعاكس للتيار للغشاء البوليميري.

بالتأكيد , إن قدرة التحمل لمثل هذه المراشح محدودة جداً , فعندما تسد معظم ثقوب السطح بجزء واحد لكل منها , تتوقف عملية الترشيح. من أجل التغلب على هذا التقييد الملازم للعملية , أوجد المهندسون طريقة تدعى الترشيح بالتدفق القاطع crossflow أو التدفق المماسي tangential flow . في هذا النظام ( الشكل-1- ) يتحرك السائل بسرعة عالية بشكل موازٍ للغشاء مع جزء صغير فقط من تيار التلقيم النافذ من خلاله بسبب التفاوت في الضغط. الأجزاء أو الجزيئات التي لم تتمكن من النفاذ عبر الغشاء يتم ردها إلى الخلف بالجريان الموازي وتخرج من النظام في تيار يدعى بالمركز concentrate لأنه يحوي على تراكيز من الأجزاء أعلى من تيار التلقيم . التيار الذي عبر من خلال الغشاء يدعى بالنافذ . permeateبسبب آلية الجرف sweeping التي يمارسها تيار التدفق القاطع , لا تسد ثقوب الغشاء وبإمكان هذه الأنظمة أداء وظيفتها لفترة طويلة من الزمن بين عمليات التنظيف. اعتماداً على حجم المسم , تدعى عمليات الترشيح الغشائي بالترشيح الدقيق أو الميكروي microfiltration , فوق الترشيح ultra filtration , والتناضح العكسي reverse ozmosis RO)).

تستخدم المراشح الميكروية microfilters أغشية ذات مسامات تتراوح بين 0.1 – 1 µm . بإمكانها ترشيح أجزاء الغبار , الفحم الفعال , والأجزاء الدقيقة لراتنج التبادل الشاردي , ومعظم الأحياء الدقيقة.

           تتطلب المراشح الميكروية ضغوطاً تفريقية منخفضة ( 5 – 20 psi ) وهي متاحة في كل من التدفق العادي          ( المسدود dead end ) وترتيبات التدفق القاطع crossflow. في أنظمة تنقية المياه الصيدلانية , يتم استخدامها عادة كمراشح خرطوشية وحيدة الاستعمال disposable cartridge filters  بعد مراشح الفحم الفعال activated carbon filters , المحليات softeners , وأسرة التبادل الشاردي ion exchange beds.

تستخدم المراشح المستدقة (أو فوق المراشح) ultra filtersالأغشية التي لا ترفض الأجزاء الصلبة فحسب بل أيضاً المواد المنحلة ذات الوزن الجزيئي المرتفع. إن درجة الوزن الجزيئي المقتطع molecular weight cutoff بالنسبة لهذه الأغشية تتفاوت في المجال 10,000 – 100,000 Da)). بإمكانها إزالة البكتيريا , الذيفانات الداخلية , الملوثات الغرويدية , والجزيئات العضوية الضخمة. تتطلب المراشح المستدقة (أو فوق المراشح) ضغوطاً تفريقية بين الـ 10 و الـ 50 psi , وهي متاحة أيضاً في كل من ترتيبات التدفق القاطع والاعتيادي. في أنظمة تنقية المياه , تستخدم المراشح المستدقة أحياناً كخطوة لتحسين نوعية المياه بعد وحدات التبادل الشاردي.

Water 1.png

الشكل .1 الترشيح بالتدفق المماسي Fig. 1 Tangential flow filtration

تيار التلقيم : Feed , التيار المركز : Concentrated الغشاء  : Membrane , التيار النافذ  : Permeate


التناضح العكسي عملية ترشيح تستخدم غشاء ذو حجم مسم في المجال 1 – 10 Ao) ). إن هذا النوع من الأغشية لا يرفض فقط معظم المركبات العضوية , البكتيريا , والفيروسات , إنما أيضاً 99 – 90  % من جميع الشوارد. بسبب حجم المسم الصغير جداً , فإن أنظمة الـ RO تعمل عند ضغوط تفريقية عالية – قياسياً من 100 إلى 500 psi.عملياً جميع أنظمة الـ RO التجارية مصممة وفقاً لترتيب التدفق القاطع. ترتيب الغشاء المادي الأكثر شيوعاً لأنظمة الـ RO يستخدم عناصر الملف اللولبي spiral-wound (الشكل - 2-) المتوضعة ضمن أوعية ضغط أفقية (أنابيب بشكل رئيسي). أثناء إنتاج الماء المنقى صيدلانياً , من الشائع جداً استخدام أنظمة RO ثنائية الإمرار double pass ذات مرحلتين متواصلتين على التسلسل من الترشيح. إن هذه الأنظمة بإمكانها بسهولة إنتاج مياه تخضع لمتطلبات الماء المنقى حسب الـ USP ولمتطلبات الـ WFI أيضاً. على أية حال , لا تسمح القوانين الأوروبية باستخدام الـ RO كخطوة معالجة نهائية لإنتاج الـ WFI. إن ذلك يشمل أيضاً المنشآت الأميركية حيث أن العمل المعتاد في الولايات المتحدة هو بناء مؤسسات تتعامل مع كل من القواعد الأميركية والأوروبية. في السنوات الأخيرة , أصبحت الـ RO الطريقة الأكثر شيوعاً لإنتاج الماء الصيدلاني النقي إما كمرحلة معالجة نهائية , أو كمعالجة تمهيدية لعمليات التقطير

Water 2.png

الشكل. 2 عناصر غشاء الملف اللولبي

Fig. 2 Spiral-wound membrane element . (Courtesy of Osmonics, Inc.)

وصلة داخلية : Interconnector أنبوب التيار النافذ : Permeate tube

التيار المركز : Concentrate flow التيار النافذ : Permeate flow

تباعد شبكي  : Mesh spacer تيار التلقيم  : Feed flow

ناقل التيار النافذ : Permeate carrier حلقة تناضح : O-Ring

غشاء : Membrane

رباط لاصق ( عند حواف غلاف الغشاء ) : Adhesive bond ( at edges of membrane envelope )


التقطير : Distillation

التقطير عملية تتضمن تبخير المياه ومن ثم تكثيف البخار الناتج. إن معظم الملوثات المنحلة لا تتبخر عند درجة غليان الماء , وبالتالي لا تمر إلى البخار والتيارات المكثفة . من أجل تحسين فعالية الطاقة , تتم إدارة التقطير عادة في أجهزة متعددة الكفاءة مصممة لاسترجاع معظم الطاقة الضائعة والتي تم صرفها على الماء المتبخر. التقطير , على الرغم من ارتفاع ثمنه , يسمح بإزالة جميع الشوائب العضوية واللاعضوية تقريباً ويقدم مياه ذات نوعية عالية جداً. إنه أيضاً يعتبر الطريقة الأكثر أماناً لتجنب التلوث بالأحياء الدقيقة والذيفانات داخلية المنشأ. لذلك يبقى التقطير الطريقة الدائمة لإنتاج الـ WFI. الماء الداخل لأجهزة التقطير تتم معالجته البدئية عادة بالـ RO و/أو طرق أخرى للتقليل من تشكل القشور ولرفع نوعية نواتج التقطير.

يعرض في الشكل -3- واحد من الترتيبات الممكنة لنظام تنقية المياه الصيدلاني. المراحل الثلاثة الأولى في هذا النظام ( الترشيح متعدد الأوساط , التليين , والترشيح بالفحم ) تعتبر خطوات معالجة تمهيدية لوحدة الـ RO التي تدير مرحلة التنقية النهائية. المرشحة الخرطوشية cartridge filter الموجودة قبل الـ RO يتم التزود بها لحماية الأغشية من أجزاء الفحم الناعمة. يوجد العديد من الاختلافات في أنظمة المعالجة : أحياناً يتم وضع مرشحة الفحم قبل المحلية softener , وأحياناً تتم إزالتها كلياً , وتنجز إزالة الكلور بإضافة مواد كيميائية مرجعة مثل كبريتيت الصوديوم ; تضاف عادة أضواء الأشعة فوق البنفسجية UV لتحسين التحكم الميكروبي و/أو للتقليل من مستويات الـ TOC , ...الخ. إن الأنظمة المعدة لإنتاج WFI غالباً ما تتضمن جهاز تقطير كخطوة معالجة نهائية.

Water 3.png

الشكل. 3 نظام تنقية مياه صيدلاني : Fig. 3 Pharmaceutical water purification system

مياه المدينة : City water مرشحة متعددة الأوساط : Multi-media filter

محلية مياه : Water softener مرشحة فحم : Carbon filter

مرشحة خرطوشية : Cartridge filter

نظام RO ثنائي الإمرار : Two-pass RO system

التيار المركز إلى الصرف : Concentrate to drain

مياه نقية إلى حوض التخزين : Purified water to storage tank

أنظمة التخزين والتوزيع للمياه الصيدلانية : Storage and Distribution Systems for Pharmaceutical Water

تفترض الدراسات المتقدمة أن المياه الخارجة من نظام التنقية والداخلة إلى حوض التخزين عليها أن تخضع لجميع المتطلبات السابق ذكرها للماء المنقى حسب الـ USP أو للماء المعد للحقن WFI. إن الهدف عند التصميم والتعامل مع نظام التخزين والتوزيع هو الحفاظ على المياه عند هذه المستويات من النقاوة , مانعاً بالتالي أياً من المقاييس الأربع المذكورة سابقاً من تجاوز الحدود المسموحة خلال التخزين . بشكل أكثر تفصيلاً يجب على المهندسين والفنيين ضمان ما يلي :

• أن تكون المياه محمية من التلوث العضوي والشاردي (الذي سيؤدي إلى تزايد في الناقلية والـ TOC على التوالي). • أن يكون النظام محمياً من الدخول الطبيعي للأجزاء الغريبة والأحياء الدقيقة. • منع أو التقليل من النمو الميكروبي. قبل التقدم إلى وصف أنظمة التخزين والتوزيع النموذجية ومعداتها , من المفيد التحدث ببضع كلمات عن قضية النمو الميكروبي التي تشكل أكبر تحدٍ على الأرجح وتحدث الكثير من القلق بين المهندسين والعمال الفنيين. الأحياء الدقيقة واسعة الانتشار ; أي بإمكانها التواجد ضمن مجموعة واسعة جداً من البيئات. لا تستثنى من هذه البيئات أنظمة المياه عالية النقاوة. على الرغم من أن هذه المياه تحوي على مقدار ضئيل جداً من المواد المغذية الضرورية لاستمرار حياتها, إلا أن بعض أنواع البكتيريا قد طورت مهارات تسمح لها ليس فقط بالبقاء وإنما بالتكاثر في هذه المياه. تقوم هذه البكتيريا بذلك في معظم الأحيان عبر الارتباط بالأنابيب والسطوح الأخرى للنظام وبتشكيل غشاء رقيق (فلم) يحوي بداخله الأحياء الدقيقة , المواد المغذية العضوية واللاعضوية (يتم استحصالها جزئياً من المياه وجزئياً من البكتيريا الميتة) , ومنتجات الاستقلاب والتحلل الجرثومي. إن هذا الفلم , الذي إن صح التعبير يدعى بالفلم الحيوي biofilm , يقوم بتكوين بيئة لائقة شديدة الاختلاف عن معظم حجم منظومة المياه , وهي ربما مريحة بشكل منطقي لمثل هذه البكتيريا. إن أغلب الأحياء الدقيقة القادرة على تشكيل أفلام حيوية في أنظمة تنقية المياه تصنف كمتعضيات سالبة الغرام إشارة إلى نوعيتها في عدم تثبيت الصباغ بعد عملية التلوين (كريستيان غرام Cristian Gram هو مبتكر طريقة التلوين). إن مثل هذه المتعضيات يملك ميلاً لأخذ المواد عديدة السكاريد الشحمية من أغشية الخلايا التي تكون الذيفانات داخلية المنشأ , وذلك خلال كل من فترة نموها الطبيعي وبعد تحلل الخلية. لهذا السبب تعد إزالة الأحياء الدقيقة سالبة الغرام من أنظمة المياه أحد الأهداف الرئيسية. إن ذلك يفسر أيضاً سبب أن عينات الاختبار المأخوذة من نظام المياه بشكل عاجل بعد التنظيف تظهر أحياناً مستويات أعلى للذيفانات من تلك الملاحظة قبل ذلك : عملية التنظيف الناجحة تقضي على جميع أو معظم البكتيريا في الفلم الحيوي , ويتم إطلاق أجزاء من أغشيتها في مجرى الماء الأعظمي حيث من الممكن كشفها كذيفانات داخلية.

هناك نتيجة أخرى للنمو الجرثومي في الأفلام الحيوية لا بد من بقائها في الحسبان هي أن نتائج أخذ العينات الميكروبية لأنظمة المياه مرتبطة فقط بشكل غير مباشر بتوضعها الفعلي. أولاً , تؤخذ العينة عادة من تيار سائل التعبئة في حين تبقى معظم البكتيريا على سطوح الأنابيب والمعدات. ثانياً , تقنيات الاختبار , المتضمنة لنوع وسط النمو المستخدم لزرع العينة قبل تعداد المستعمرات , قد تملك تأثيراً كبيراً على نتائج الاختبار. لذلك ليس من المفاجئ ألا يحدد دستور الأدوية الأميركي الـ USP التركيز المسموح به للعضويات الدقيقة في عينات المياه كمعايير يعني تجاوزها الفشل بشكل مشابه للناقلية أو للـ TOC , وإنما فقط يحدد دليلاً مساعداً غير مباشر ينبغي استخدامه كحد عملي أو تحذيري في الجهود المبذولة للحفاظ على التحكم الميكروبي.

من المهم ملاحظة أنه يبقى عدد قليل من الأحياء الدقيقة في نظام الماء المنقى من دون أن يؤثر بشكل جدي على نوعية المياه. بسبب نقص المواد المغذية ونظراً للظروف الأخرى الغير مفضلة , يكون النمو الميكروبي في هذه المياه بطيئاً. إن ذلك يزود العاملين بخيار الحفاظ على هذه الأنظمة وهي في حال ضبط النمو الميكروبي عن طريق تنظيفها بشكل دوري أكثر من تنظيفها باستمرار , طالما أن المدة طويلة بما فيه الكفاية للحفاظ على التعدادات الجرثومية عند مستويات منخفضة بشكل مقبول.

علينا أن نقدر بعض التطبيقات الهندسية المستخدمة لإنجاز الأهداف المذكورة سابقاً. ولوصف أكثر تفصيلاً , نشير إلى الـ ISPE الدلائل الهندسية الصيدلانية الأساسية المتطورة مؤخراً لمساعدة القائمين على أعمال المصانع في تصميم وتشغيل أنظمة ماء منقى.

المخططات الشاملة للنظام : Overall System Schematics

يعرض في الشكل -4- واحد من مخططات التدفق القياسية لنظام تخزين وتوزيع للمياه الصيدلانية. يتضمن النظام حوض تخزين عمودي , مضخة تدوير , مبادل حراري صحي , ومجموعة من الأنابيب مصممة بشكل دارة كاملة مع قاطع لاستخدام الصمامات متوضع على بعد مسافة صغيرة من الدارة. تقوم المضخة على نحو مستمر بتدوير المياه من الحوض بواسطة أنابيب التوزيع وإعادتها إلى الحوض. تبقى درجة حرارة المياه في النظام ضمن المجال 65 – 85o C للحفاظ على التحكم الميكروبي. إن أية متعضيات تمر عبر النظام سيتم قتلها أو على الأقل منعها من التكاثر في هكذا ظروف حرارية. يستخدم المبادل الحراري لتعويض الخسائر في الحرارة الحادثة في نظام الأنابيب. تعود المياه إلى الحوض بواسطة واحدة أو أكثر من كرات الرش spray balls. وهكذا تقوم بتزويد تدفق مستمر لقمة الحوض وجدرانه العلوية , وتحفظهم عند درجة الحرارة المرتفعة. يتم عزل النظام بالكامل ( الحوض , الأنابيب , وبقية المكونات ) من أجل الحفاظ على السخونة.

Water 4.png

الشكل. 4 نظام تخزين وتوزيع مياه منقاة :Fig. 4 Purified water storage and distribution system

مياه منقاة من تقطير المياه المعدة للحقن WFI : Purified water from WFI still

حوض تخزين 80°C : 80°C Storage tank مصرف : vent

مضخة تدوير : Circulation pump نقاط الاستخدام : Points of use

سخان : Heater بخار : steam ناتج التكثيف : cond


من أجل تخفيض الدعامات الراكدة dead legs عند نقاط الاستخدام , من الشائع تصميم دارة ذات مقاطع بشكل حرف U متوضعة عند كل نقطة مماثلة , وبصورة خاصة جلب القمة الرئيسية من مكان السقف إلى مستوى عمل مناسب حيث يكون صمام نقطة الاستخدام سهل الوصول. إن ذلك يضيف كمية كبيرة من الوصلات وانخفاضاً مرافقاً في الضغط للنظام. في الحالات التي يكون فيها صمام نقطة الاستخدام أتوماتيكياً , من الممكن تجنب ذلك أحياناً بوضع الصمام عند القمة , بعيداً عن نقطة الاستخدام الفعلية. في هكذا حالة , يحتاج الصمام فقط لأن يكون سهل الوصول من أجل الصيانة , لكن تنظيف الخط الفرعي ربما يجب أخذه بالحسبان. يكون حوض التخزين عادة مجهزاً بمرشحة تصريفية كارهة للماء ذات درجة تعقيم 0.2 µm)) , وأحياناً بنظام إحاطة بالآزوت أيضاً , لمنع دخول الأجزاء والعضويات خلال دخول الهواء الاعتيادي. الفوائد الإضافية للغطاء الآزوتي nitrogen blanket هي توليد جو خالي من الأوكسجين في الفضاء العلوي لحوض التخزين (أفضل من أجل التحكم الميكروبي ومنع التآكل) , وتجنب ظروف الخلاء الطفيفة خلال دخول الهواء عبر المرشحة التصريفية. غالباً ما يتم التحري عن حرارة المرشحة التصريفية على حوض التخزين كي تبقى ساخنة , وذلك من أجل كل من التحكم الميكروبي ومنع تكاثف الرطوبة. يجب أن تكون مضخة تدوير المياه ذات تصميم صحي وقد تجهز بسدادة ميكانيكية مفردة أو مزدوجة. في الحالة الأخيرة , الماء المنقى من تفريغ المضخة يستخدم كسائل تدفق السدادة (الشكل - 5-) . إذا تم تركيب مضخة تدوير إضافية من أجل الاعتماد عليها , من المهم ضمان أنها لا تشكل دعامة راكدة طويلة. من الممكن تجنب ذلك إما بإيقاف تشغيلها وتفريغها من المياه عندما لا تكون قيد الاستخدام , أو بتخصيص تيار صغير من الماء الساخن من أجل الدوران باستمرار عبر المضخة الإضافية.

Water 5.png


Fig. 5 Double mechanical seal with Purified water flush arrangement

الشكل. 5 سدادة ميكانيكية مضاعفة ضمن نظام تدفق مياه منقاة.

مقطع عرضي لجوف السدادة : Seal cavity cross-section

Seal cavity : High pressure product to increase pressure in internal seal area.

جوف السدادة : ناتج ذو ضغط عالي لزيادة الضغط داخل السدادة*.


flush water supply

تيار تدفق السدادة : يتم إعاقة الناتج من الخط الخارجي للمضخة إلى GPH 1 -2 (غالون بالساعة) بضغط 2-5 PSI لمصدر المياه المتدفقة ضمن السدادة.

  • Option A: From pump outlet  : الخيار A: من الخط الخارجي للمضخة.

Option B: From casing drain  : الخيار B : من مياه الصرف المحيطة.

Seal flush discharge : تفريغ التدفق المار بالسدادة.

Recirculation flow  : تدفق إعادة التدوير Seal flush flow : تدفق التيار ضمن السدادة.

Media : أوساط , Gaskets : حشوات ميكانيكية , stationary seal : سدادة ثابتة

Rotating seals : سدادات دوارة , O-rings : حلقات تناضح , springs : نوابض.

إن معدل تدفق التدوير المختار عادة لا يرتكز فقط على المعدلات المتوقعة لاستخدام المياه, بل أيضاً على الحاجة للحفاظ على سرعة دنيا محددة (قياسياً 5 أقدام/ثانية) خلال فترات عدم الاستخدام. السرعة الدنيا المطلوبة تأتي من مبدأ موجود بشكل واسع هو أن 5 أقدام/ثانية ضرورية لتوليد تدفق مضطرب ومثل هذا التدفق يمنع تراكم الأغشية الحيوية بواسطة قوى قطع ميكانيكية.على أية حال , هذه الفكرة غير مدعمة بنتائج تجريبية أو بتحليل لحركيات السائل fluid dynamics.

أولاً , يصبح التدفق مضطرباً عند سرعات تدفق أقل من 5 أقدام/ثانية. ثانياً , حتى مع التدفق المضطرب فإنه دائماً ما يوجد غشاء رقيق لسائل مجاور لجدران الأنابيب يقوم بإظهار تدفق رقائقي (Laminar flow). على الرغم من أن سماكة هذا الغشاء معتمدة على السرعة , فإنها بالتأكيد أعلى من حجم البكتيريا المثالية. على أية حال , سيكون من عدم الإنصاف القول بأن سرعة الدوران لا تهم. ينبغي اختيارها ليس فقط بالاعتماد على حركة السوائل ضمن خط الأنابيب , بل أيضاً بمراعاة تأثيرها في الحفاظ على درجة حرارة المياه المطلوبة عند النقاط المختلفة في النظام , متضمنة أية دعامات راكدة dead legs. الدعامات الراكدة هي الأطول , والأعلى هي درجة الاضطراب المطلوبة للحفاظ عليها ساخنة. مع أن أنظمة التوزيع والتخزين الساخن المشابهة لتلك الظاهرة في الشكل. 4 المذكور أعلاه ممتازة من ناحية التحكم الميكروبي , فإن قيدها الرئيسي هو حقيقة أن الماء يصل إلى جميع المستخدمين بدرجة الحرارة المرتفعة 65–85o C)). من الشائع جداً أن يكون ذلك غير مقبول بالنسبة لبعض أو جميع المستخدمين. المساوئ الأخرى للأنظمة الحارة هي الإمكانية الأعلى لتآكل معدات النظام , وما يتعلق بسلامة العاملين بسبب حرارة المياه المرتفعة. قد تم تطوير أفكار تصميم عديدة لتزويد المستخدمين بمياه نقية عند درجة الحرارة المطلوبة (المحيطة عادة) . يعرض اثنان من هذه التصاميم في الأشكال . 6 و7. في الحالة الأولى (الشكل. 6) , يتم تبريد المياه مباشرة عند نقطة الاستخدام بواسطة مبرد موضعي ؛ في الحالة الثانية (الشكل. 7) , تم إحداث دارة مستقلة للحرارة المحيطة , حيث يقوم مبرد مركزي وحيد بتلبية احتياجات النقاط متعددة الاستخدام. خلال فترات عدم الاستخدام للمياه , لا يقوم مبرد النظام في الشكل. 7 غالباً بأداء أي شيء (فقط تعويض الزيادة في الحرارة الآتية من المضخة).على أية حال , حالما يتم فتح صمام نقطة الاستخدام وتبدأ المياه ذات درجة الحرارة المحيطة بالتدفق من الدارة , يتم استبدالها بمياه ساخنة من حوض التخزين. عند هذه الخطوة , يكون المبرد بحاجة لأن يكون قادراً على التخلص من الحرارة الزائدة للحفاظ على درجة حرارة الدارة المضبوطة. إن ذلك يتطلب عادة مبادلاً حرارياً صحياً كبيراً جداً والكثير من ماء التبريد. من المنظور العملي, يفيد غالباً تركيب مبادلين على التسلسل : الأول يستخدم مياه التبريد العليا لإزالة معظم الحرارة , بينما الثاني (المبرد المحسن trim cooler) يستخدم مياهاً مثلجة chilled water أغلى ثمناً لأخذ الدارة إلى درجة الحرارة المطلوبة (قياسياً 20-25o C ).

Water 6.png

Fig. 6 Purified water storage and distribution system with point-of-use cooler

الشكل. 6 نظام تخزين وتوزيع مياه منقاة مع مبرد عند نقطة الاستخدام

مياه منقاة من تقطير المياه المعدة للحقن WFI : Purified water from WFI still

حوض تخزين 80°C : 80°C Storage tank , مصرف : vent , مضخة تدوير : Circulation pump

نقاط الاستخدام : Points of use , سخان : Heater , بخار : steam , ناتج التكثيف : cond

بخار نظيف : Clean steam, رجوع المياه المثلجة : Chilled water return , مبرد : cooler

مصدر مياه مثلجة : Chilled water supply

نقاط استخدام المياه المبردة: Points of use for cooled water


Water 7.png

Fig. 7 Purified water storage and distribution system with ambient loop

الشكل. 7 نظام تخزين وتوزيع مياه منقاة مع عروة (دارة) ذات درجة حرارة محيطة

مياه منقاة من تقطير المياه المعدة للحقن WFI : Purified water from WFI still

حوض تخزين 80°C : 80°C Storage tank , مصرف : vent , مضخة تدوير : Circulation pump

نقاط الاستخدام : Points of use , سخان : Heater , بخار : steam , ناتج التكثيف : cond

رجوع المياه المثلجة : Chilled water return , مبرد : cooler

مصدر مياه مثلجة : Chilled water supply

نقاط استخدام المياه المبردة: Points of use for cooled water


من المهم الملاحظة بأن هكذا نظام لا يتوقع منه الحفاظ على درجة الحرارة المضبوطة للدارة في جميع الأوقات. فبسبب التباطؤات في نظام التحكم الملازمة لتصميمه , فإن درجة حرارة المياه النقية ستتأرجح بين بضع درجات في كل وقت يتم فيه فتح أو إغلاق صمام نقطة الاستخدام الرئيسي. إن هذا عادة ليس بمشكلة , خصوصاً في التطبيقات المتضمنة تعبئة المياه داخل وعاء للمعالجة. يتم التزود بالسخان في الدارة المحيطة (الشكل. 7) من أجل الاستصحاح (sanitization) الدوري للدارة ؛ يتم إيقاف إمدادات البخار في جميع الأوقات الأخرى .

الأسلوب الثالث هو استخدام النظام المشابه لذلك المعروض في الشكل. 4 , وذلك فقط للحفاظ على المياه في حوض التخزين و في عروة التدوير عند درجة الحرارة المحيطة معظم الوقت (هذا يحتاج مبادل حراري إضافي مع ماء مبرد على الجانب الخارجي). من أجل الوصول إلى التحكم الميكروبي , من الضروري أن يتم تنظيف هذا النظام بشكل دوري (أو أي نظام يتضمن عروة محيطة) وذلك عبر تسخين مكوناته إلى حوالي 80o C والإبقاء على درجة الحرارة لمدة ساعة على الأقل. إن تكرار عملية التنظيف قد يتفاوت من مرة باليوم إلى مرة بالأسبوع أو أقل من ذلك : إن التقليل من تكرار العملية هو جل اهتمام الدراسات التي تقوم بإثبات الفعالية الواجب توقعها للتحكم الميكروبي.

هناك أسلوب آخر للتحكم الميكروبي في النظم ذات درجة الحرارة المحيطة وهو استخدام الأوزون كعامل معقم (sanitizing agent). في هذه الحالة , يتم حقن غاز الأوزون باستمرار (يتم توليده في مكان محدد من هواء مضغوط أو من الأوكسجين) داخل حوض تخزين المياه النقية. يتم تركيب تجهيزات ضوء الـ UV عند مخرج مضخة التدوير من أجل تفكيك الأوزون في المياه الموجهة إلى المستخدمين خلال التشغيل الاعتيادي. بشكل دوري , يتم إيقاف ضوء الـ UV هذا لمدة تتراوح بين الـ 30 دقيقة إلى ساعة , متيحاً للماء المعالج بالأوزون بأن يدور عبر أنابيب التوزيع , وبذلك يتم إنجاز تعقيمها. في الأنظمة الأكبر , غالباً ما يصبح من غير الممكن تشغيل عروة أنابيب واحدة واسعة القطر لجميع نقاط الاستخدام ؛ في هذه الحالات , بالإمكان توظيف منظومات متنوعة متعددة العرى (الدارات).

إن اختيار تصميم النظام المحدد يعتمد على عدة عوامل : عدد نقاط الاستخدام المتطلبة للمياه المعتدلة والحارة , معدلات التدفق و تواتر الاستعمال , توفر رأس المال , الخ... .

مواد التصنيع : Materials of Construction

إن حوض التخزين , الأنابيب , المضخات , والمكونات الأخرى للنظام التي على تماس مع المياه النقية ينبغي أن تكون مصنعة من المواد المقاومة كيميائياً لهذه المياه و التي لن تقوم بإدخال شوارد معدنية أو ملوثات أخرى إليها. المادة المستخدمة الأكثر شيوعاً في الصناعة الصيدلانية هي الستانلس ستيل 316L (الفولاذ المقاوم للصدأ). اللاحقة L وفقاً لتصميم الدرجات تدل على ‘‘منخفض الفحم’’ , والتي تملك أهمية للمكونات التي بحاجة إلى أن تلحم لأن جزيئات الفحم تميل للانتشار على السطح أثناء عملية اللحام , جاعلة المناطق الملحومة عرضة للتآكل. أنظمة أنابيب المياه المنقاة تركب عادة من شبكة لأنابيب الصحية . هذا المنتج يملك تحملات ميكانيكية بعدية أكثر قوة من الأنابيب , وهو متاح مع طيف واسع من النهايات المستوية , تصل إلى سطوح بشكل المرآة تم إنجازها بدمج كل من الصقل الميكانيكي والصقل الكهربائي. من الشائع استخدام شبكة الأنابيب المصقولة إلى 25 – 30 µin . وسطي الخشونة roughness average RA)) أو أفضل من ذلك. الأنابيب والمكونات الأخرى (الصمامات valves , الوصلات المرفقية elbows , نقاط البدء tees , الخ.) يتم لحمها في معظم الأحوال بآلات اللحام الأوتوماتيكية الدورانية . هذه الآلات تعمل عبر إحداث قوس كهربائي بين القطب الكهربائي للملحمة وأجزاء الأنابيب , فتقوم بصهر نهايات الأنابيب الجاري توصيلها. خلافاً للحام التقليدي , هذه التقنية تقوم بإحداث وصلات ملتحمة شديدة النعومة تحوي فقط على المواد الآتية من القطع الموصولة ولا تحوي أي معدن من قطب اللحام. من أجل تجنب التأكسد الزائد للمنطقة الملحومة , ينبغي تنظيفها بغاز خامل مثل الأرغون خلال إجراء العملية. بالإضافة إلى التقليل من الجهد اليدوي , فإن آلات اللحام الأوتوماتيكية تساعد في الحفاظ على جودة ثابتة لجميع الأجزاء الملحومة , إضافة إلى الثوابت الموثقة (التيار الكهربائي electrical current , سرعة القطب electrode speed , تدفق التنظيف purge flow , الخ.) المؤثرة على هذه الجودة. عندما يكون اللحام الأوتوماتيكي غير ملائم (كما ,على سبيل المثال , في تصنيع صمامات الثبات الصفري zero-static valves ), يسمح باللحام اليدوي ؛ على أية حال , ينصح بأداء ذلك ضمن ورشة ذات بيئة مضبوطة أكثر من القيام بذلك ضمن مكان التصنيع. يتم فحص الوصلات الملحومة في الأنابيب النظيفة عادة بطريقة التنظير عبر التجاويف borescoping.

من أجل تحسين المقاومة للصدأ في المكونات المصنعة من الستانلس ستيل , خصوصاً في المناطق المتأثرة باللحام, من الشائع القيام بتهميد ((passivate سطوح التماس الناتجة للمعدات والأنابيب المركبة بإمرار محلول لمادة مؤكسدة قوية مثل حمض الآزوت أو حمض الليمون , أو عامل خالب chelating agent . إن عملية التهميد passivation تزيل الحديد الحر من سطح المعدن وتكون طبقة واقية رقيقة من أكسيد الكروم. ليس من النادر إعادة إجراء عملية التهميد بشكل دوري (مرة خلال عدة سنوات) لاستعادة الطبقة الهامدة. في السنوات الفائتة , تم تصميم بعض الأنظمة بمواد تصنيع لدنة بدلاً من الستانلس ستيل. المادة الأكثر شيوعاً هي عديد فلور الفينيليدين polyvinylidene flouride PVDF)) ; هو مكثور مفلور جزئياً يبدي العديد من الخصائص المرغوبة (المتانة الميكانيكية والمقاومة الكيميائية) مقارباً بذلك للتيفلون Teflon المفلور بشكل كامل ,غير أنه أقل ثمناً وأكثر تلاؤماً للتركيب في أنظمة الأنابيب. إن أنابيب الـ PVDF المدعمة والمصممة كما ينبغي بإمكانها تحمل المياه الساخنة أو حتى بخار الاستصحاح (Sanitization) ذو الضغط المنخفض , إضافة إلى تعرضها الدوري للأوزون. على الرغم من أن تكلفة أنابيب الـ PVDF تقارب كلفة الستانلس ستيل وتحتاج لدعم مستمر في معظم الحالات , فإنها تقدم ميزات مثل الوزن الخفيف , اللحام الأسهل , لوازم وصمامات أقل ثمناً , وعدم الحاجة لعملية التهميد. هذه الفوائد قد تؤدي لتوفير شامل وثابت للتكاليف مقارنة بأنظمة الستانلس ستيل. نظراً للقلق حول نفاذ الشوائب العضوية من المواد اللدنة , قام الباحثون و مصنعو أنابيب الـ PVDF الصحية بأداء دراسات شاملة تثبت أن كمية الـ TOC (إجمالي المركبات العضوية) النافذة من هذه الأنابيب إلى المياه ضئيلة جداً ولا تخفض من نوعية المياه. من الإنصاف القول أنه في حين لا يمكن اعتبار أي من مواد التصنيع مثالية لأنظمة المياه المنقاة , فإن المواد اللدنة مثل الـ PVDF تبزغ كمنافسات قوية للستانلس ستيل.

تصميم وتركيب الأنابيب : Piping Design and Installation

أثناء تصميم وتركيب منظومة الأنابيب للمياه المنقاة , ينبغي أخذ الانتباه لتجنب أي مناطق يظل فيها الماء راكداً (الدعامات الراكدة dead legs). حينما تكون التوصيلات الفرعية ضرورية , كنقاط الاستخدام , منافذ الأجهزة , الخ.. , يحدد عادة طول ’’الدعامة الراكدة ‘‘إلى أقطار ثلاثة أنابيب كحد أقصى لخط التفرع , حسب ما تم قياسه من جدار الخط الرئيسي. إن أهمية هذه القاعدة المعتمدة على الخبرة ((rule of thumb في هذا التطبيق الخاص هي حقيقة أنه أثناء تطهير منظومة الأنابيب (إما دورياً أو باستمرار) , فإن جميع أجزائها , بما فيها المناطق الأكثر بعداً , عليها أن تصل لدرجة الحرارة المطلوبة , أو , في حالة الاستصحاح الكيميائي chemical sanitization , أن تكون ممكنة الوصول بالنسبة لتلك المادة الكيميائية. في الحالات التي لا يمكن فيها تجنب ’’الدعامات الراكدة ‘‘الطويلة (كما في بعض المنظومات الحالية أو في المنظومات الجديدة الأصغر) , يمكن إنجاز التحكم الميكروبي بتهييج كل من هذه الدعامات بالماء الساخن أو بمحلول كيميائي كجزء من عملية الاستصحاح. يتم عادة إمالة الأنابيب كحد أدنى لـ 8/1 إنش /القدم (أو حوالي 1: (100 باتجاه أقرب نقطة تصريف لضمان عملية تصريف كاملة. كن على معرفة بأن شبكة الأنابيب ذات الجدران الرقيقة المستخدمة للمنظومات الصحية قد ترتخي (sag) بين نقاط الدعم , مما يؤدي إلى حدوث تجمعات لا يمكن تصريفها من السائل في المجاري الأفقية. من وجهة نظر تقنية , حاجة الميلان هذه مهمة فقط بالنسبة للخطوط التي يتم تطهيرها بالبخار(ناتج التكثف بحاجة لأن يتم تصريفه بسهولة لإنجاز تسخين منتظم لجميع سطوح الأنبوب) , ولكنها قد أصبحت ممارسة شائعة بحد ذاتها لدرجة أن المصنعين لا يكترثون بأي منظومة تنقية للمياه في الصناعة الصيدلانية مركبة من دون إمالة. معظم الأنابيب والعناصر الأخرى للمنظومة يتم لحمها , أما المكونات التي قد تحتاج للفك (مضخات , مبادلات حرارية , أدوات , الخ..) يتم توصيلها بواسطة وصلات صحية مثل ثلاثية الكلابات Tri-Clamp , القفل المطرق TS Swagelock , الخ. السمة الشائعة لجميع هذه الوصلات بأن مطابقات الحشوة للوصلة تمتد إلى جدار الأنبوب , جاعلة التوصيل خالياً من الشقوق Crevice-free.

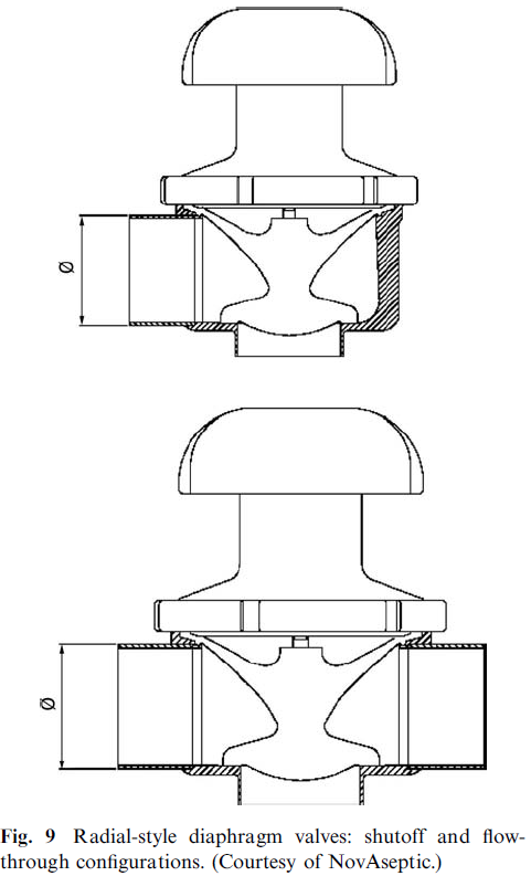
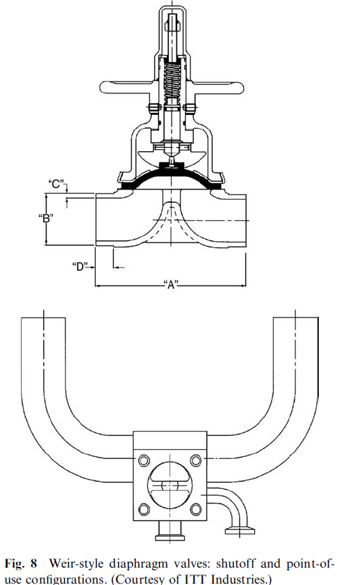
قد أصبحت الصمامات الحجابية Diaphragm valves معياراً فعلياً للمياه المنقاة وكذلك بالنسبة لمعظم المنظومات الصحية الأخرى بسبب قدرتها التنظيفية , انعدام الشقوق , وعزلها الكامل للأجزاء المبللة عن آلات التشغيل الميكانيكية. النمطان الأكثر استخداماً على نحو واسع هما الصمامات الحجابية من نمط السد ((weir ومن النمط الشعاعي ((radial ,على التوالي.

بالإضافة إلى الترتيب البسيط للصمام (مدخل واحد , مخرج واحد) , العديد من الشركات تقدم مجموعة واسعة من صمامات نقاط الاستخدام والصمامات التخصصية الأخرى المصممة من أجل الصناعات الصيدلانية والصناعات المتعلقة بها عموماً , ومن أجل منظومات تنقية المياه على وجه الخصوص (الأشكال. 8 و 9).

Water 8.png

Fig. 8 Weir-style diaphragm valves: shutoff and point-of-use configurations

الشكل.8 صمامات حجابية من نمط السد : ترتيبات القاطع ونقطة الاستخدام.

Water 9.png

Fig. 9 Radial-style diaphragm valves: shutoff and flow-through configurations

الشكل.9 صمامات حجابية من النمط الشعاعي : ترتيبات القاطع والتدفق.

خاتمة : CONCLUSIONS

توجد أنماط عديدة من منظومات تنقية المياه المستخدمة في المؤسسات الصيدلانية. على الرغم من أن معظمها يشترك بسمات عامة , فإن كل منظومة مصممة خصيصاً لتطبيق معين. إن تطوير تصميم مناسب يحتاج لفهم جيد لإدارة المنظومة وعناية دقيقة بالتفاصيل. إن الامتثال فقط للقواعد العامة المعتمدة على الخبرة لا يضمن بالضرورة الحصول على منظومة يمكن الوثوق بها – لا يهم مقدار المال الذي تم إنفاقه. من ناحية أخرى , بالفهم الجيد , من الممكن غالباً تصميم , تركيب , وتوثيق منظومة تنقية للمياه فعالة ويمكن الاعتماد عليها باستثمار أقل لرأس المال وتكاليف أقل للإجراءات الممارسة.



المصادر

موسوعة التكنولوجيا الصيدلية

وصلات خارجية

1. United States Pharmacopeia 26 National Formulary 21; US Pharmacopeia Convention Inc.: Rockville, MD, 2003.

2. Meltzer, T. Pharmaceutical Water Systems; Tall Oaks Publishing: Littleton, CO, 1997.

3. Weitnauer, A.; Comb, L. Reverse osmosis for WFI and PW. Presented at Pharmaceutical Waters’95, Atlantic City, NJ, May, 1995.

4. Schaule, G.; Flemming, H. Pathogenic microorganisms in water system biofilms. Ultrapure Water 1997, 14 (4), 21–25.

5. Gillis, R.; Gillis, J. A comparative study of bacterial attachment to high-purity water system surfaces. Ultrapure Water 1996, 13 (6), 27–32.

6. Riedewald, F. Biofilms in pharmaceutical waters. Pharm. Eng. 1997, 17 (6), 8–19.

7. Collentro, W. Microbial control in purified water systems— Case histories. Ultrapure Water 1995, 12 (3), 30–36.

8. Byrne, W. Biological control in high-purity water. Presented at Ultrapure Water Expo, Philadelphia, PA, 2001.

9. ISPE Baseline Pharmaceutical Engineering Guides: Vol. 4. Water and Steam Systems; ISPE, 2001.

10. Gray, G.C. Recirculation velocities in water for injection distribution systems. Pharm. Eng. 1997, 17 (6), 28–33.

11. Klauer, J. An examination of pipe self-cleaning in high-purity water systems. Ultrapure Water 2001, 18 (3), 56–60.

12. Shnayder, L. Pharmaceutical purified water storage and distribution systems— an engineering prospective. Pharm. Eng. 2001, 21 (6), 66–72.

13. Dreyer, C.; Du, S.; Sommer, K.; Williams, R. Criteria, tools, and practices for high-purity water distribution systems. Ultrapure Water 2000, 17 (5), 17–28.

14. McWilliam, A. The design of high purity water distribution systems. Pharm. Eng. 1995, 15 (5), 54–70.

15. Peterman, L. Design guidelines for WFI and other highpurity water systems. Presented at ISPE Conference on Pharmaceutical Water Systems, Amsterdam, The Netherlands, 1991.

16. Motomura, Y.; Yabe, K. Piping materials and distribution systems for advanced ultrapure water. Proceedings of Tenth Annual Semiconductor Pure Water Conference, Santa Clara, CA, 1991, 1–22

17. Govaert, R.; Lueghamer, A. Thermoplastic piping systems for pharmaceutical water applications. Ultrapure Water 2001, 18 (10), 32–39.

18. Sixsmith, T.; Jackson, J. How piping materials for the pharmaceutical industry compare to each other. Ultrapure Water 1999, 16 (4), 53–59.